

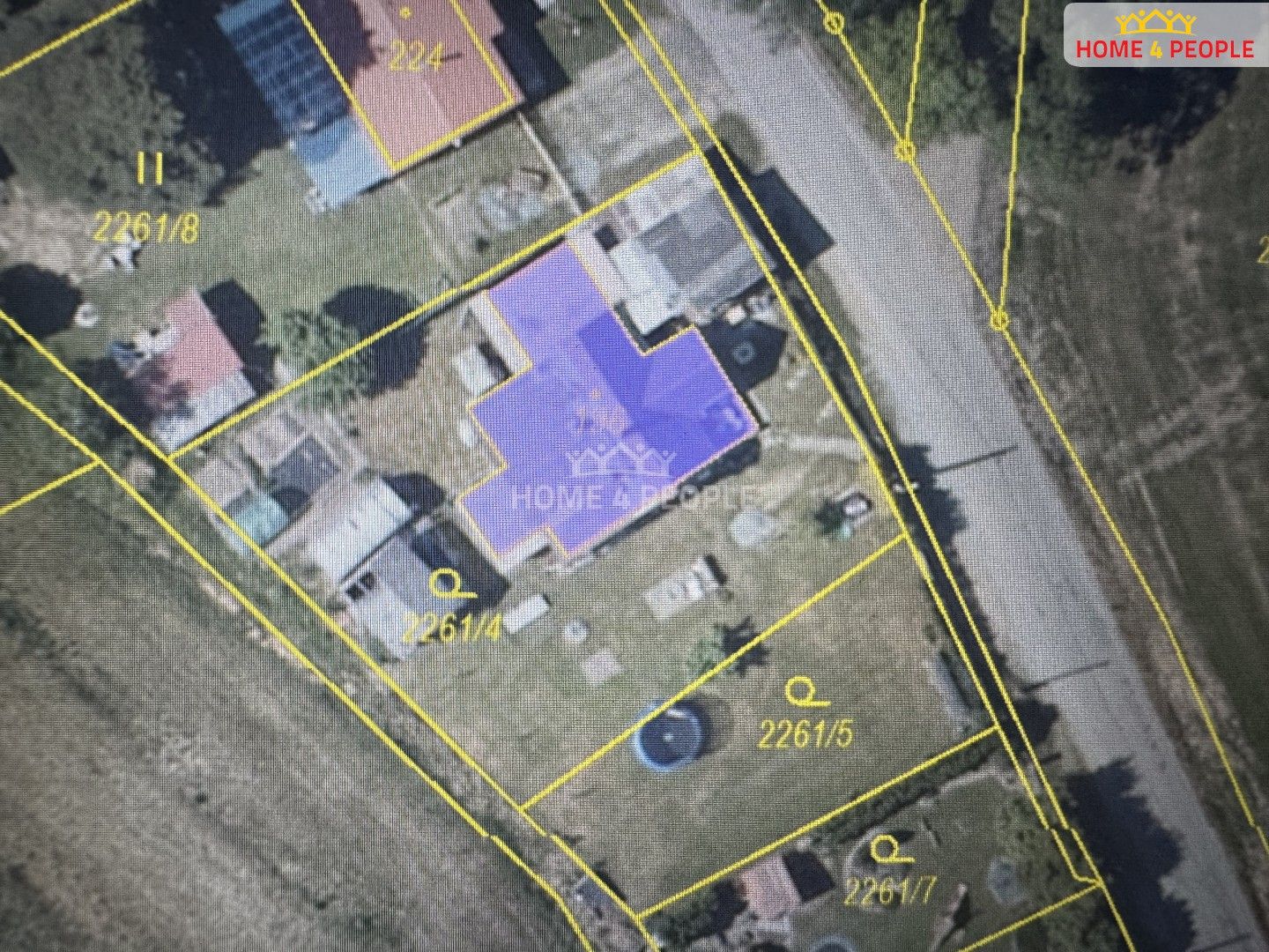
Zprostředkujeme Vám ve výhradním zastoupení prodej chaty v obci Otročice v okrese Benešov. Bezbariérová stavba dispozičně 4+1 s garáží, menším sklepem, krytým stáním a zahradou je postavena svépomocí a je vhodná na rekreační účely, trvalé bydlení či na živnostenské podnikání. Voda je zajištěna studnou a obecním vodovodem, odpady septikem, vytápění bylo řešeno kamny na tuhá paliva. Prostorná garáž a zahrada o výměře 1025 m² jsou výhodnou investicí. Na mírně svažitém pozemku se nacházejí i další nevyužívané menší stavby pro zvířecí miláčky. Dům je vyklizen a ihned k dispozici. V sousedství je obecní silnice, pole a dva rodinné domy. Umístění domu na konci obce zaručuje klid, ale zároveň dobrou dopravní dostupnost na D1 - 8 km. Krásné prostředí rybníků dotváří malebnou atmosféru okolí. Vlašim 13 km, vodní nádrž Švihov a CHKO Blaník 10 km. RK zajišťuje finanční i právní servis. Ev. číslo: 31882.
Parametry
- ID nabídky Realingo-31882
- Smíšená stavba
- Dobrý stav
- Přízemní budova
- 152 m² užitné plochy
- 1 177 m² pozemku
- 21 053 Kč za m² užitné plochy
- Energeticky mimořádně nehospodárná (G)
- Vytápění: ústřední tuhá paliva
- Mimo záplavovou oblast
- na Realingu
- Aktualizace před 80 dny

